Recherche un produit  
Electronique - Sono - Lumière
Sécurité - Surveillance Vidéo
    
 
Catalogue » Audio - Sono » Microphones

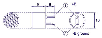
Titre: Capsule Micro Electret Ø 10mm
Quantité:
Article indisponible
Description:
Caractéristiques
  • type omnidirectionnel
  • haute sensibilité, réponse en fréquence très plate, poids limité
  • résiste aux chocs

Spécifications
  • dimensions miniatures: 10mm
  • impédance: basse
  • tension standard: 4.5V
  • intesnité absorbée: 0.5mA
  • rapport S/B: 40dB ou plus
  • niveau sonore maximal: 120dB SPL
  • sensibilté: -61±3dB
    • 0dB = 1V/1µbar, 1KHz
    • Vcc = 4.5V, RL = 1K Ohm





Capsule Micro Electret Ø 10mm, cliquez pour agrandir
Photo non contractuelle